| ダム湖の水温制御方法 |
|
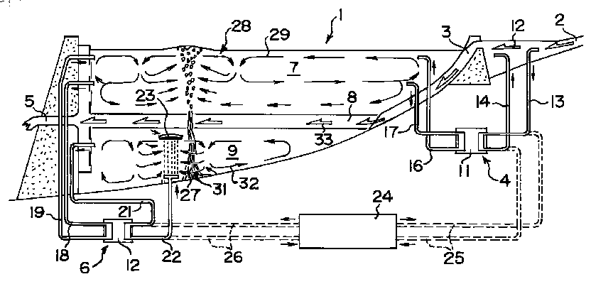
【特許番号】第2642862号 【請求項1】 流入水温制御部4において、流入河川2から放熱側の第1高温冷水管13によって高温の冷水を取水して、第1ヒートポンプ11に蓄熱後、放熱側の第1低温冷水管14によって低温の冷水を流入河川2に放水する一方、流入水路3の出口部と流出口部5との間に延びる水温躍層8の上側の循環混合層7から受熱側の第2低温温水管17によって低温の温水を取水して、第1ヒートポンプ11によって放熱後、高温の温水として受熱側の第2高温温水管16によって循環混合層7に放流し、該循環混合層7の水温を上昇させるとともに、ダム湖1に流入する河川水の水温を低下させることを特徴とするダム湖の水温制御方法。 【請求項2】 全層水温制御部6において、流入水路3の出口部と流出口部5との間に延びる水温躍層8の下側の深層9から放熱側の第4高温冷水管21によって高温の冷水を取水して、第2ヒートポンプ12に蓄熱後、放熱側の第4低温冷水管22によって低温の冷水を深層9に放水する一方、循環混合層7から受熱側の第3低温温水管18によって低温の温水を取水して、第2ヒートポンプ12によって放熱後、高温の温水として受熱側の第3高温温水管19によって、流入水路3の出口と流出口部5との間に延びる水温躍層8の上側の循環混合層7に放流し、該循環混合層7の水温を上昇させるとともに、深層9の水温を低下させることを特徴とするダム湖の水温制御方法。 【請求項3】 第1,2ヒートポンプ11,12は、ダム湖周辺地域の冷房手段24によって発生する廃熱を利用することを特徴とする請求項1又は2に記載のダム湖の水温制御方法。 |
